steam pipe problem error message

Questions and remarks about code_saturne usage
Forum rules
Please read the forum usage recommendations before posting.
Post Reply
racime

steam pipe problem error message

Post by racime »

Hi,

I'm new in code saturne made a model in Salome that i exported to Code Saturne.
Filling out all the data and running the code results in an error during the calculation. Is there anyone that can help me in this problem. The model should simulate the release of steam from a pipe into the open air. I'm not sure if i used the correct way on this issue, but getting this simulation to run will help me get started i think.

I did not add any error information which makes help a bit difficult :oops:
I found the following error in the listing. I understand it is because i have 17 outlet faces, i only have a box *30x30x50 meters with a tube sticking in diameter of the tube is 194mm.

I'm not sure what to do here. :roll:

Is there someone with knowledge of code saturne that can help me or give me a push in the right direction.
  • Phase 1 incoming flow detained for 17 outlet faces on 88


    Jacobi [TurbEner]: divergence after 2 iterations:
    initial residual: 1.0985e+09; current residual: 1.5744e+16

    Writing of "chr" (MED_fichier) summary:

    CPU time for meshes: 0.000
    CPU time for variables: 0.020

    Elapsed time for meshes: 0.003
    Elapsed time for variables: 0.010

    Writing of "error" (MED_fichier) summary:

    CPU time for meshes: 0.010
    CPU time for variables: 0.000

    Elapsed time for meshes: 0.002
    Elapsed time for variables: 0.005


    /opt/saturne-2.0.2/installer/ncs-2.0.2/src/base/cs_sles.c:1746: Fatal error.

    Jacobi: error (divergence) solving for TurbEner


    Call stack:
    1: 0x7fe1fbc12667 <reslin_+0x237> (libsaturne.so.0)
    2: 0x7fe1fbd84180 <invers_+0x250> (libsaturne.so.0)
    3: 0x7fe1fbc393d3 <codits_+0x14e3> (libsaturne.so.0)
    4: 0x7fe1fbe01ee6 <turbke_+0x665a> (libsaturne.so.0)
    5: 0x7fe1fbdf8104 <tridim_+0xb594> (libsaturne.so.0)
    6: 0x7fe1fbc2a875 <caltri_+0x5085> (libsaturne.so.0)
    7: 0x7fe1fbc059e3 <cs_run+0x843> (libsaturne.so.0)
    8: 0x7fe1fbc05cc5 <main+0x1f5> (libsaturne.so.0)
    9: 0x7fe1f83a4c4d <__libc_start_main+0xfd> (libc.so.6)
    10: 0x40a359 <> (cs_solver)
    End of stack
Attachments
lastlisting.txt
the listing.
(85.67 KiB) Downloaded 286 times
Yvan Fournier
Posts: 4299
Joined: Mon Feb 20, 2012 3:25 pm

Re: steam pipe problem error message

Post by Yvan Fournier »

Hello,

Unless your setup is confidential, you should post your entire listing, error, ans setup files, as recommended in the forum usage guidelines. The final error is simply not enough. For example, chances are pretty high you have a bad quality mesh or too large time step, but without the full listing, we can only guess.

Regards,

Yvan
racime

Re: steam pipe problem error message

Post by racime »

I did not know that this Error file wouldn't help to give any indication on the Error. :roll:

I now attached the files i have. This is what i did to create the calculation.
I got some results but that was when i placed a wall on the outlet of the pipe. I did not include the "box".

What i want is to see temp. i the steam cloud and see how this cloud develops (distance, and size). I now first started with what i thought would be a simple model to get me started and get some indication on the results so i can adjust my calculation more later on.

Temp. of the steam is 500degC and 70Bars. Furthermore i don't know i Code-saturne i capable to give usefull results, but according to what i have seen will the program be usefull for this type of model.
Attachments
steampipe.zip
Complete Code Saturne file
(966.6 KiB) Downloaded 311 times
Yvan Fournier
Posts: 4299
Joined: Mon Feb 20, 2012 3:25 pm

Re: steam pipe problem error message

Post by Yvan Fournier »

Hello,

As you are using constant physical properties, I assume you have only steam, or are considering steam density to be equal to that of air (otherwise, you need to define variable density, depending on the steam fraction, which can be defined by a scalar).

In any case, whatever you are trying to model, it is the temperature which diverges, so you should first user a smaller heat flux (try 0 instead o 20 W/square meters everywhere), and see if you still have divergence (if the flux is too strong relative to heat evacuation by the outlet, you may have an issue). Also, you want a max temperature of 500 degrees, but inject steam at 500 degrees and add heat flux, so things can't work out correctly.

Regards,

Yvan
racime

Re: steam pipe problem error message

Post by racime »

I used constant density because in my try to get the model working i left out some data.
I will try your input and come back if i find problems. I thought that i would need the max and min temp. that could exist in the model. The i will see if i can "inject" the steam at the input of the pipe and create a heat flux on this. it will take som trial and error i think before i get this working. :P
racime

Re: steam pipe problem error message

Post by racime »

I did some trial and error, but i don't seem to grasp the program as i expected. :oops:

My steam has a density at 500degC/70Bars of 21,1 kg/m3, Dyn. viscosity is 2,9PaS, Therm. conductivity 0,072 and a Cp of 2433,4J/kgK.

So this is what i have putten into the "fluid properties", these values are not constant, they change when the steam is released into the air "flashing of the steam". In my try here i did not do any change in the properties. I first wanted it to get working.

My initial temperature is 500degC (temp. into the pipe).
My end temp is assumed to be 20degC (temp. out of "the box").
I expect that the temperature and speed of the steam has mixed with the air at that point so no steam will go though the far wall.

My max temp. is 500degC at the pipe into model. my lowest temp is 20degC in the model. Do i need to create this in an other way?

How and where do i put the scalars, do i put it into the "definition and initialization" and how?
Where do i put this heat flux?
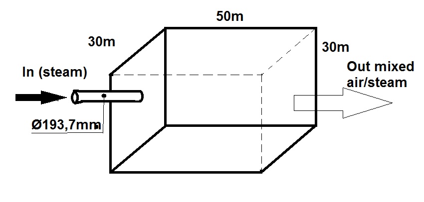
Attachments
sketch.jpg
Yvan Fournier
Posts: 4299
Joined: Mon Feb 20, 2012 3:25 pm

Re: steam pipe problem error message

Post by Yvan Fournier »

Hello,

You should not define any heat flux for your case.

- The outlet (right on your figure) should be a free outlet (otherwise, you need to activate the compressible model, which works in version 2.0 and 3.0-rc1, but not in 2.2 and 2.3)
- The sides should be adiabatic (zero heat flux) walls
- At the inlet, the temperature should be a fixed 500°C (the initial temperature in the domain being 20°).

At this stage, you don't need an additional scalar/species, but you can start adding one, with 0 initial value, and 1 at the inlet, to define the steam fraction. You'll need it when you want to define variable physical properties, which will depend on this ratio.

Regards,

Yvan
Post Reply